рефераты бесплатно
 
Главная | Карта сайта
рефераты бесплатно
РАЗДЕЛЫ

рефераты бесплатно
ПАРТНЕРЫ

рефераты бесплатно
АЛФАВИТ
... А Б В Г Д Е Ж З И К Л М Н О П Р С Т У Ф Х Ц Ч Ш Щ Э Ю Я

рефераты бесплатно
ПОИСК
Введите фамилию автора:


Курсовая работа: Анализ качества изделия машиностроения

Характеристики переходной посадки.

Наибольший зазор: Smax = Dmax – dmin = 125,020 – 124,989 = 0,031 мм

Наибольший натяг: Nmax = dmax – Dmin = 125,0 – 124,980 = 0,020 мм

Средний зазор: Sm = (Smax + Smin)/2 = (0,031 – 0,020)/2 = 0,011 мм

Средний натяг: Nm = (Nmax + Nmin)/2 = (0,020 - 0,031)/2 = -0,011 мм

Допуск зазора: TS = Smax + Nmax = 0,031 + 0,020 = 0,051 мм

Допуск натяга: TN = Smax + Nmax = 0,031 + 0,020 = 0,051 мм

Задача 4

1. Подобрать размеры шпонки для соединения шкива с валом.

2. Назначить посадку шкива на вал и посадки шпонки с пазом вала и пазом втулки в соответствии с вариантом задания.

3. Выполнить анализ полученных посадок шпонки с пазом вала и пазом втулки.

4. Построить схемы расположения полей допусков этих соединений.

5. Обозначить на эскизах посадки соединяемых деталей и поля допусков деталей соединения.

Вид шпоночного соединения: нормальное, d = 55 мм, l = 56 мм.

Решение.

По ГОСТ 23360-78 для вала Ø55 находим сечение шпонки bxh = 16х10 мм и ширину ступицы шкива lc = 75 мм > l.

Допуски на глубину пазов вала и втулки:

t1 = 6+0,2 или d - t1 = 55 – 6 = 49-0,2;

t2 = 4,3+0,2 или d + t2 = 55 + 4,3 = 59,3+0,2.

Предельные отклонения размеров по ширине паза вала и паза втулки должны соответствовать полям допусков ГОСТ 25347-82:

При нормальном соединении: на валу N9, во втулке Js9.

Предельные отклонения на ширину шпонки устанавливают по h9.

Сопряжение шпонки с пазом вала будет осуществляться по посадке 16N9/h9, а с пазом втулки - 16Js9/h9 (переходные посадки).

Отклонения на несопрягаемые размеры, которые рекомендует ГОСТ 23360.

На высоту шпонки 10h11 = 10-0,090

На длину шпонки 56h14 = 56-0,74

На длину паза вала 56H15 = 56-1,2

В соответствии с рекомендациями [2] принимаем посадку шкива на вал 55Н9/h9.

По ГОСТ 25347-82 находим отклонения, соответствующие принятым полям допусков.

Для ширины шпонки b = 16h9; es = 0, ei = -43 мкм.

Для ширины паза вала: В = 16N9: ES = 0, EI = -43 мкм.

Для ширины паза втулки: Ввт = 16Js9: ES = +21 мкм, EI = -21 мкм.

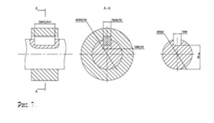
Проведем анализ посадок табл. 4,5; приведем схему расположения полей допусков рис. 6 и эскиз шпоночного соединения рис. 7.

Таблица 4

Параметры сопряжения Для вала Для отверстия
Номинальный размер, мм 16 16
Квалитет 9 9
Условное обозначение основного отклонения h N
Условное обозначение поля допуска h9 N9
Верхнее отклонение, мм еs = 0 ES = 0
Нижнее отклонение, мм ei = -0,043 EI = -0,043
Наибольший предельный размер, мм 16,0 16,0
Наименьший предельный размер, мм 15,957 15,957
Допуск размера, мм Td = 0,043 TD = 0,043

Характеристики переходной посадки.

Наибольший зазор: Smax = Dmax – dmin = 16,0 – 15,957 = 0,043 мм

Наибольший натяг: Nmax = dmax – Dmin = 16,0 – 15,957 = 0,043 мм

Средний зазор: Sm = (Smax + Smin)/2 = (0,043 – 0,043)/2 = 0

Средний натяг: Nm = (Nmax + Nmin)/2 = (0,043 – 0,043)/2 = 0

Допуск зазора: TS = Smax + Nmax = 0,043 + 0,043 = 0,086 мм

Допуск натяга: TN = Smax + Nmax = 0,043 + 0,043 = 0,086 мм

Характеристики переходной посадки.

Наибольший зазор: Smax = Dmax – dmin = 16,021 – 15,957 = 0,064 мм

Наибольший натяг: Nmax = dmax – Dmin = 16,0 – 15,979 = 0,021 мм

Средний зазор: Sm = (Smax + Smin)/2 = (0,064 – 0,021)/2 = 0,0215 мм

Средний натяг: Nm = (Nmax + Nmin)/2 = (0,021 – 0,064)/2 = -0,0215 мм

Допуск зазора: TS = Smax + Nmax = 0,064 + 0,021 = 0,085 мм

Допуск натяга: TN = Smax + Nmax = 0,064 + 0,021 = 0,085 мм

Таблица 5

Параметры сопряжения Для вала Для отверстия
Номинальный размер, мм 16 16
Квалитет 9 9
Условное обозначение основного отклонения h Js
Условное обозначение поля допуска h9 Js9
Верхнее отклонение, мм еs = 0 ES = +0,021
Нижнее отклонение, мм ei = -0,043 EI = -0,021
Наибольший предельный размер, мм 16,0 16,021
Наименьший предельный размер, мм 15,957 15,979
Допуск размера, мм Td = 0,043 TD = 0,042


Задача 5

Используя заданные по варианту размеры назначить недостающие осевые и диаметральные размеры ступеней вала, исходя из особенностей конструкции.

Решение.

Назначаем недостающие размеры (табл. 6.).

Таблица 6

Диаметр ступени,

мм

Заданные размеры

сопрягаемых деталей,

мм

Конструктивно назначенные

размеры ступеней вала,

мм

1 2 3
Ø70 Ширина подшипника В=24 Ширина ступени: 24
Ø95 Ширина зубчатого колеса L=150 Ширина ступени: 170
- Буртик-упор для зубчатого колеса

Назначаем: Ø115;

ширина: 26

- Ступень для съемника перед правым подшипником

Назначаем: Ø95;

ширина: 30

Ø70 Ширина подшипника В=24 Ширина ступени: 24
- Ступень под крышку с сальниковым уплотнением

Назначаем: Ø63;

ширина: 50

Ø55 Ширина шкива b=75 Ступень под шкив на 5 мм короче: 70
Общая длина вала: 394 мм

Задача 6

При обработке вала с размерами, установленными в задаче 5, необходимо обеспечить отклонения размера между опорами под подшипник по двенадцатому квалитету (h12). Для этого необходимо:

1.  Составить схему размерной цепи.

2.  Решить прямую задачу (задачу синтеза) размерной цепи с помощью метода полной взаимозаменяемости.

Решение.

Необходимо при обработке вала выдержать размер АΔ= 226h12 = 226-0,46 (рис. 9).


Составим схему размерной цепи (рис. 10).

Производим проверку замкнутости размерной цепи, мм:

,

где Aj – номинальные размеры составляющих звеньев;

m-1 – общее число составляющих звеньев без замыкающего;

εj – передаточные отношения составляющих звеньев.

АΔ = +1·394 - 1·144 - 1·24 = 226 мм

Найдем значения единиц допуска для составляющих звеньев.

А1 = 394 мм;

А2 = 144 мм;

А3 = 24 мм;

Коэффициент точности:


По данным ГОСТ 25346-89 ближайшее меньшее значение коэффициента точности к полученному будет для 10 квалитета. Оно равно 64 (IT10=64i).

Назначаем по ГОСТ 25346-89 допуски составляющих звеньев по 10 квалитету:

ТА1 = 0,230; ТА2 = 0,140 мм.

Звено А3 выбираем увязывающим.

Сумма допусков составляющих звеньев без увязывающего:

 

Допуск увязывающего звена:

Отклонения составляющих звеньев назначаем в тело детали:

А1 (394h10): Es = 0; Ei = -230; Ec = -115 мкм;

А2 (144Н10): Es = +140; Ei = 0; Ec = +70 мкм;

АΔ (226h12): Es = 0; Ei = -460; Ec = -230 мкм.

Рассчитаем положение середины поля допуска увязывающего звена:

Предельные отклонения увязывающего звена:


EsАувяз = EсАувяз + ТАувяз/2 = +45 + (90/2) = +90 мкм

EiАувяз = EсАувяз - ТАувяз/2 = +45 - (90/2) = 0 мкм

Результаты расчетов сведем в табл. 7.

Таблица 7

Номиналь-ный размер звена Aj, мм Допуск размера ТАj, мкм Верхнее отклонение EsAj, мкм Нижнее отклонение EiAj, мкм Середина поля допуска ЕсАj, мкм Передаточ-ное отношение звена εj Произведе-ние ε·ЕсАj, мкм
226h12 460 0 -460 -230

A1=394h10

A2=144H10

230

140

0

+140

-230

0

-115

+70

+1

-1

-115

-70

A3увяз=24 90 +90 0 +45 -1 -45

Проверка правильности выполненных расчетов.

Задача 7

Используя данные задач 2, 3, 4, 5, 6 указать на эскизе полученные поля допусков осевых и диаметральных размеров вала.

Решение.

Проставим размеры на рабочем чертеже вала, используя комбинированный метод (рис. 11).

Для обработки левой части (после обработки правой) вал поворачивают на 180°, т.е. происходит смена технологических баз для формирования размеров как вдоль оси, так и диаметральных.

Обеспечение при обработки точности размеров 24+0,09, 144Н10, 394h10 обеспечит точность размера 226h12, определяющего качество сборки.

Для всех свободных размеров отклонения принимаем по 14 квалитету (по «среднему» классу точности). На чертеже об этом сделаем запись в технических требованиях.

Задача 8

1.  Выбрать средство измерения для контроля размера вала под посадку с натягом.

2. Охарактеризовать выбранное измерительное средство: наименование, ГОСТ, цена деления шкалы, диапазон измерений, погрешность измерения, температурный режим, вариант использования.

Решение.

Размер вала под посадку с натягом: 95u8. По ГОСТ 8.051-81 определяем:

Допускаемая погрешность измерения: 12 мкм.

Допуск размера: 54 мкм.

Так как вал имеет значительную массу, то будем использовать не станковые, а накладные средства измерения.

Рекомендуемые средства измерения:

1.  Микрометр гладкий МК с величиной отсчета 0,01 мм, с закреплением на стойке, предельная погрешность измерения: 5 мкм.

2.  Скобы индикаторные с ценой деления 0,01 мм, с закреплением на стойке, предельная погрешность измерения: 15 мкм.

Для контроля размера выберем микрометр. Микрометр гладкий МК ГОСТ 6507-78; цена деления 0,01 мм; диапазон измерений 75-100; погрешность измерения 5 мкм; температурный режим - 2°С; закреплен на стойке (изолирован от рук оператора).

Задача 9

Назначить допуски соосности и цилиндричности для поверхностей вала под подшипники, и радиального биения – для поверхностей вала под зубчатое колесо и под шкив, используя нормальный уровень относительной геометрической точности.

Решение.

Назначим отклонения формы и расположения для поверхностей вала диаметром Ø95u8, Ø70n6, Ø55h9.

Задан нормальный уровень относительной геометрической точности А. По ГОСТ 24643-81 определяем соответствующую степень точности формы. Для Ø95u8 – 7 степень точности, для Ø70n6 – 5 степень точности, для Ø55h9 – 8 степень точности.

Допуск цилиндричности по ГОСТ 24643-81 для Ø70n6 и 5 степени точности – 6 мкм.

Допуск радиального биения по ГОСТ 24643-81 для Ø95u8 и 7 степени точности – 40 мкм, для Ø55h9 и 8 степени точности – 60 мкм.

Допуск соосности поверхностей под подшипники в диаметральном выражении по ГОСТ 24643-81. Для вала Ø70n6 (5 степень точности) он составит 16 мкм. В радиусном выражении – 16/2=8 мкм.

В качестве базы для оценки радиального биения примем ось вала.

Обозначение отклонений формы и расположения поверхностей покажем на рисунке 12.

Задача 10

Назначить требования к шероховатости поверхностей вала, исходя из нормального уровня относительной геометрической точности А.

Решение.

Для нормального уровня точности А принимаем Rz≤0,2T в пределах от 320 до 10 мкм и от 0,10 до 0,025 мкм. Rа≤0,05T в пределах от 2,5 до 0,002 мкм.

Величины допусков для рассматриваемых размеров принимаются по ГОСТ 25346-89. Расчетные значения Rа или Rz округляем до ближайшего меньшего стандартного значения.

Для Ø70n6: Т = 19 мкм, Rа ≤ 0,95 мкм, выбираем Rа = 0,8 мкм.

Для Ø95u8: Т = 54 мкм, Rz ≤ 10 мкм, выбираем Rz = 10 мкм.

Для Ø55h9: Т = 74 мкм, Rz ≤ 14 мкм, выбираем Rz = 12,5 мкм.

Для 16N9: Т = 43 мкм, Rz ≤ 8 мкм, выбираем Rz = 8 мкм.

Для прочих поверхностей назначаем Rz = 20.

Обозначение параметров шероховатости поверхностей вала приведем на рисунке 13.


Задача 11

1.  Проанализировать точность резьбового соединения в соответствии с заданием по своему варианту.

Привести эскизы резьбового соединения с обозначением посадки и отдельно деталей соединения с обозначением полей допусков.

1.  Пояснить содержание условных обозначений.

2.  Определить номинальные размеры параметров резьбы, показав их на эскизе.

3.  Установить предельные отклонения диаметров резьбы, их предельные размеры и допуски. Определить зазоры.

4.  Построить в масштабе схему расположения полей допусков, указав предельные размеры диаметров резьбы.

Резьба М22-6Н/6d-30.

Решение.

Проанализируем точность резьбового соединения М22-6Н/6d-30. На рис. 14 приведем эскизы резьбового соединения, и эскизы полей допусков деталей соединения.

Условное обозначение указывает, что резьба метрическая (угол профиля 60°), с крупным шагом, диаметром 22 мм, длиной свинчивания 30 мм.

6Н/6d – обозначение посадки резьбового соединения;

6Н – поле допуска среднего и внутреннего диаметров резьбы гайки;

6d – поле допуска среднего и наружного диаметров резьбы болта;

6 – степень точности, определяющая допуски диаметров резьбы гайки и болта;

Н, d – основные отклонения соответственно диаметров резьбы гайки и болта.

ГОСТ 24705-81 и ГОСТ 8724-81 определяем номинальные размеры наружного D (d), внутреннего D1 (d1) и среднего D2 (d2) диаметров резьбы, шага резьбы Р, исходной высоты профиля Н, а также угла профиля α для резьбы с номинальным диаметром 22 и крупным шагом.

D = d = 22,000; D1 = d1 = 19,294; D2 = d2 = 20,376; Р = 2,5;

Н = 0,8667Р = 2,167; α = 60°.

На рис. 15 показаны основные параметры анализируемой резьбы.    


По ГОСТ 16093-81 устанавливаем предельные отклонения диаметров резьбы, сопрягаемых на посадках с зазором, мкм:

Для гайки М22-6Н:

ESD = +Н/8; EID = 0;

ESD2 = +224; EID2 = 0;

ESD1 = +450; EID1 = 0.

Для болта М22-6d:

esd = -106; eid = -441;

esd2 = -106; eid2 = -276;

esd1 = -106; eid1 = -Н/8.

Предельные размеры и допуски средних диаметров резьбы болта и гайки, мм:

D2max = 20,376 + 0,224 = 20,6; d2max = 20,376 - 0,106 = 20,27;

D2min = 20,376 + 0= 20,376; d2min = 20,376 - 0,276 = 20,1;

TD2 = D2max - D2min = 0,224; Td2 = d2max - d2min = 0,17


Для других диаметров резьбы расчет предельных размеров аналогичен. Отклонения шага и половины угла профиля, влияющие на взаимозаменяемость, учитываются допуском на средний диаметр.

Зазоры в соединении по среднему диаметру, мм:

S2max = D2max - d2min = 20,6 - 20,1 = 0,5;

S2min = D2min - d2max = 20,376 - 20,27 = 0,106.

На рис. 16 покажем расположение полей допусков диаметров резьбы, предельные размеры и зазоры в масштабе 100:1.

В отличие от схем расположения полей допусков гладких соединений для схемы расположения полей допусков резьбового соединения условно принимается соосное расположение резьбы болта и гайки, поэтому на схеме откладываются половины значений отклонений.

Учитывая особенности работы резьбового соединения М22-6Н/6d-30 и его точность, контроль параметров резьбы рекомендуется осуществлять резьбовыми калибрами.


Список использованной литературы

1.  Анурьев В.И. Справочник конструктора-машиностроителя: в 2 т. / В.И. Анурьев. – М.: Машиностроение, 2001. – Т. 2. – 912 с.

2.  Допуски и посадки: справочник: в 2 ч. / под ред. В.Д. Мягкова. – Л.: Машиностроение, 1982. – Ч. 1. – 544 с.; Ч. 2. – 448 с.

3.  Крылова Г.Д. Основы стандартизации, сертификации, метрологии/ Г.Д. Крылова. – М.: ЮНИТИ-ДАНА, 2000. – 711 с.

4.  Якушев А.И. Взаимозаменяемость, стандартизация и технические измерения / А.И. Якушев. – М.: Машиностроение, 1986. – 352 с.

5.  Зябрева Н.Н. Пособие к решению задач по курсу «Взаимозаменяемость, стандартизация и технические измерения» / Н.Н. Зябрева, Е.И. Перельман, М.Я. Шегал. – М.: Высшая школа, 1977. – 176 с.

6.  Сергеев А.Г. Сертификация. / А.Г. Сергеев, М.В. Латышев. - М.: Логос, 2000. – 248 с.


Страницы: 1, 2


рефераты бесплатно
НОВОСТИ рефераты бесплатно
рефераты бесплатно
ВХОД рефераты бесплатно
Логин:
Пароль:
регистрация
забыли пароль?

рефераты бесплатно    
рефераты бесплатно
ТЕГИ рефераты бесплатно

Рефераты бесплатно, реферат бесплатно, сочинения, курсовые работы, реферат, доклады, рефераты, рефераты скачать, рефераты на тему, курсовые, дипломы, научные работы и многое другое.


Copyright © 2012 г.
При использовании материалов - ссылка на сайт обязательна.