рефераты бесплатно
 
Главная | Карта сайта
рефераты бесплатно
РАЗДЕЛЫ

рефераты бесплатно
ПАРТНЕРЫ

рефераты бесплатно
АЛФАВИТ
... А Б В Г Д Е Ж З И К Л М Н О П Р С Т У Ф Х Ц Ч Ш Щ Э Ю Я

рефераты бесплатно
ПОИСК
Введите фамилию автора:


Курсовая работа: Расчет установки для сушки яблок

Курсовая работа: Расчет установки для сушки яблок

Министерство образования Республики Беларусь

УО «Могилевский государственный университет продовольствия»

Заочный факультет

Кафедра «Теплохладотехники»

Курсовой проект

На тему: «Рассчитать установку для сушки яблок»

Могилев, 2010 г.


Содержание

Введение

1 Состояние вопроса

2 Технические описания и расчёты

2.1 Описание принципа работы технологической схемы

2.2 Описание принципа работы проектируемого аппарата

2.3 Материальный расчет установки

2.4 Тепловой расчёт установки

2.5 Конструктивный расчёт барабанной сушилки

2.6 Расчёт и подбор комплектующего оборудования

2.6.1 Расчёт и подбор калориферов

2.6.2 Расчёт циклона СКЦН-34

2.7. Гидравлический расчёт линии воздуха и подбор вентилятора

Заключение

Список использованных источников


Введение.

Процессы сушки широко применяются в промышленности и сельском хозяйстве. Объектами сушки могут быть разнообразные материалы на различных стадиях их переработки (сырьё, полуфабрикаты, готовые изделия).

Сушкой называется процесс удаления из материала любой жидкости, в результате чего в нём увеличивается относительное содержание сухой части. На практике при сушке влажных материалов, в том числе пищевых продуктов, удаляют главным образом воду, поэтому под сушкой понимают процесс обезвоживания материалов.

Материалы сушатся с различной целью: для уменьшения массы (это удешевляет их транспортировку), увеличения прочности (керамические изделия, древесина), повышения теплоты сгорания (топливо), повышения стойкости при хранении и для консервирования (зерно, пищевые продукты, биопрепараты).

Большинство пищевых продуктов являются влажными телами, содержащими значительное количество воды. Вода входит в состав растительных и животных тканей и являются необходимой составной частью пищи человека. Однако избыток воды снижает питательную ценность пищевых продуктов, значительно удорожает их транспортировку и может вызвать порчу продуктов вследствие жизнедеятельности различных микроорганизмов в водной среде. Поэтому большинство пищевых продуктов подвергают сушке, в процессе которой  их влажность значительно снижается.

Процесс тепловой сушки пищевых продуктов заключается в переводе влаги, находящейся в них, в парообразное состояние и удаление образующегося пара во внешнюю, окружающую продукты, среду.

По способу подвода теплоты к материалу различают сушилки конвективные, контактные (сушка на горячих поверхностях), с лучистым нагревом (терморадиационные), с нагревом токами высокой частоты, акустические. Наиболее широко в пищевой промышленности применяются конвективные сушильные установки, в которых сушильным агентом является нагретый воздух или смесь его с топочными газами. Продукты, используемые для питания человека, высушиваются воздухом.

Основные элементы установки - сушильная камера, где происходит собственно сушка, калорифер, в котором воздух нагревается перед поступлением в сушильную камеру, и вентилятор, обеспечивающий принудительную циркуляцию воздуха.

Широко используются в промышленности сушильные установки с возвратом (рециркуляцией) части отработанного воздуха, в этом случае свежий воздух смешивается с частью отработанного воздуха, поступающего из сушильной камеры, образуя смесь. Смесь вентилятором подается в калорифер, подогревается и направляется затем в сушильную камеру. Сушильные установки бывают с дополнительным подогревом воздуха непосредственно в сушильной камере и с промежуточным подогревом воздуха в калориферах, установленных в отдельных ее зонах. Сушка в этих установках протекает при более низкой и равномерной температуре воздуха в камере.


1 Состояние вопроса

В зависимости от свойств продукта подбирают способ подвода тепловой энергии (конвективный, контактный, радиационный и др.), а также давление внешней среды (атмосферное или вакуум). Широкое распространение находит как контактная, так и конвективная сушка с механическим перемешиванием и перемещением материала.

Часто используются барабанные сушилки, в работе и конструкции которых достигнут значительный прогресс. Например, для сушки и охлаждения сахара используется однобарабанная сушильная установка вместо ранее применявшейся двухбарабанной.

Большое распространение получили различные конструкции пневматических сушилок (трубы-сушилки, аэрофонтанные, которые нашли применение, например, в крахмальной промышленности и при сушке зерна). Хотя эти сушилки позволяют использовать сушильный агент высокой температуры, их недостатками являются большая высота установки и малое время пребывания частиц в сушилке. Поэтому они используются для сушки кристаллических продуктов, содержащих в основном легко удаляемую поверхностную влагу.

Модификацией пневматической сушилки, позволяющей уменьшить высоту, является сушилка с двойными, коаксиальными трубами. Подъем горячей аэросмеси в такой сушилке происходит по внутренней, а опускание – по внешней трубе.

Получил широкое применение метод сушки сыпучих материалов в кипящем слое, пригодный для высушивания материалов, содержащих связанную влагу. Установки с кипящим слоем просты в конструктивном оформлении, в эксплуатации, легко могут быть автоматизированы, в них можно совмещать процессы сушки и сепарации. Стоимость сушилки кипящего слоя низка по сравнению со стоимостью барабанных и ленточных конвейерных сушилок, а увеличенный расход энергии (по сравнению с барабанными сушилками) окупается ее преимуществами.

Интенсивное перемешивание в кипящем слое обуславливает высокий теплообмен и массообмен, высокую скорость и качество сушки. Процесс может быть осуществлен как по периодической, так и по непрерывной схеме.

Сушилки с псевдоожиженным слоем прямоугольного сечения позволяют получать более равномерное, чем у круглых сушилок, распределение времени пребывания продукта в сушильной камере и применяются для сушки продуктов, которые нельзя долго подвергать действию высокой температуры. Перед выгрузкой продукт продувается холодным воздухом.

Наряду с сушилка аэрокипящего слоя используются вибрационные сушилки. Виброкипящий слой создается как за счет аэродинамических свойств агента, так и воздействием на материал вибрационных колебаний. Он пригоден для сушки различных дисперсных материалов, в том числе для мелкодисперсных и слипающихся. Виброкипящий слой имеет преимущества перед аэрокипящим. В нем может создаваться во всем объеме перекрестный ток и противоток, что в аэрокипящем слое затруднительно интенсивной циркуляцией частиц.

Патентный поиск

РЖ ИСМ 77-11-95

(19) Япония (Jp) (12) В4       (11) 5-45874

(51) 5F26B17/10,25/00,F27B15/09

(65) 63-13198      (43) 880603         (40) 930712№5-1147

(21) 61-277567    (22) 861120

(54) Сушильная установка с кипящим слоем (рисунок 1)

(57) Установка содержит печь 4 с кипящим слоем, внутри которой размещена газораспределительная пластина 6, а с боковой стороны сформировано окно 7 для выгрузки изделий. В печь из воздухопровода 5 вводится поток горячего воздуха и из питателя подаются исходные изделия. Из печи в циклон 13 через выпускной патрубок 14 вместе с отходящими газами выгружаются малыми порциями обработанные изделия. Установка отличается тем, что отдельно от циклона 13 установлен вспомогательный циклон 17, соединенный с окном 7 посредством вспомогательной трубы 15 с заслонкой 16.

Переводчик С.Н. Смирнов

Рисунок 1

(19) Япония (Jp) (12) В4       (11) 5-45875

(51) 5F26B17/10,25/00,F27B15/09

(65) 63-13198      (43) 880603         (40) 930712№5-1147

(21) 61-277568    (22) 861120

(54) Сушильная установка с кипящим слоем (рисунок 2)

(57) Установка содержит печь 4 с кипящим слоем, внутри которой размещена газораспределительная пластина 6, а с боковой стороны сформировано окно 7 для выгрузки изделий. В печь из воздухопровода 5 вводится поток горячего воздуха и из питателя подаются исходные изделия. Из печи в циклон 13 через выпускной патрубок 14 вместе с отходящими газами выгружаются малыми порциями обработанные изделия. Изделия, выгруженные из циклона 13, подаются в пневматическую транспортировочную трубу 18 и по ней – в циклон 21, установленный отдельно от циклона 16.Установка отличается тем, что окно 7 и средняя точка трубы 18 соединены между собой посредством байпасной трубы 19 с заслонкой 19А. Внутри трубы 18 между точкой присоединения трубы 19 и отверстием для выпуска воздуха установлен клапан 18В для регулирования расхода воздуха.

Переводчик С.Н. Смирнов.

Рисунок 2

(19) США (US)   (12) А         (11) 5294095

(51) 5F26B17/00

(52) 266-87

(40) 940315 Том 1160 №3


(54) Сушилка псевдоожиженного слоя с погруженными в слой инфракрасными лампами

(57) Сушилка содержит устройство, образующее некоторый объем для размещения слоя псевдоожиженных частиц заданной высоты. В названном объеме размещен слой псевдоожиженных частиц заданной высоты, в которой погружены инфракрасные лампы, направляющие излучение на окружающие их часы. Лампы разделены на несколько самостоятельно регулируемых зон, работающих независимо одна от другой, что позволяет изменить интенсивность ламп в различных зонах.

Переводчик Е.М. Нечуятова.

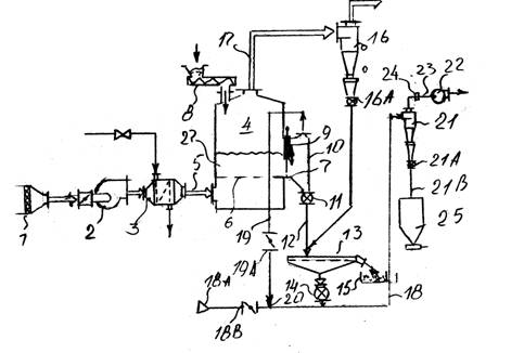
Барабанная сушильно-охладительная установка СБУ-1 предназначена для сушки и охлаждения сахара-песка.

Установка СБУ-1 (рис. 3) состоит из вращающегося барабана 8, опорно-приводной станции, в которую входит электродвигатель 18 и редуктор 20, установленные на раме 19, загрузочной головки 1 двух неподвижных кожухов 10, трубы с дефлектором 17 для отсоса обработавшего горячего воздуха.

Барабан 8 представляет собой стальной перфорированный цилиндр длиной около 10м, наклоненный в сторону движения сахара. В передней части барабана имеется распределительная царга 2 длиной 550 мм, внутри которой вварено десять лопаток 24, расположенных под углом 45° к образующей. Царга 2 обеспечивает равномерное распределение сахара, поступающего из загрузочной головки 1с помощью турникета 25. К торцу распределительного устройства по периметру крепится 24 секции фигурных лопаток (8 – по окружности, 3 – в длину).

Для увеличения жесткости секций и предотвращения прохода воздуха вдоль секции между фигурными лопатками ставят поперечные перегородки. Конфигурация лопаток обеспечивает возможность прохождения воздуха внутрь корпуса и в то же время не дает сахару просыпаться наружу. В конце барабана на фланце крепится ситовая часть 9 корпуса, предназначенная для отделения комков сахара.

На центральную часть перфорированного барабана надевают кожух 10, состоящий из крышки 4 и днища 5. По краям кожуха в специальных обоймах крепят кольцевые уплотнения из прямоугольного резинового шнура, препятствующие выходу воздуха в атмосферу. Кроме того, с двух сторон барабана имеются продольные уплотнения, обеспечивающие подачу воздуха только к сахару в барабане. На кожухе имеются четыре патрубка 3 для ввода горячего и холодного воздуха. На концевую часть барабана также ставят неподвижный кожух, имеющий сбоку патрубок для подачи холодного воздуха и на торцевой стенке – патрубок 14 для отсоса отработавшего воздуха. На той же торцевой стенке крепят трубу 17, проходящую через барабан до зоны горячего воздуха. Труба служит для отсоса воздуха. В нижней части кожуха имеются желоб 11 и турникет 15 для сухого охлажденного сахара-песка и желоб 12 и турникет 13 для вывода комков. Сушильный барабан приводится в движение через бандажи 6, установленные на металлоконструкциях 16, 23 и фрикционных роликах 22, вращающихся с помощью валов 21.

Сахар, загружаемый в аппарат через загрузочную головку и царгу, равномерно распределяется по фигурным элементам внутренней поверхности барабана и располагается сегментом, образуемым углом естественного откоса. Именно эта зона отделена продольными уплотнениями, обеспечивающими подачу воздуха только через слой сахара. Кроме интенсификации процессов влаго- и теплообмена, такой метод подачи воздуха способствует образованию псевдоожиженного слоя, поддерживая кристаллы сахара в полувзвешенном состоянии, что предохраняет их от истирания.

Горячий воздух подается через первые два патрубка (по ходу сахара), холодный – через два последних. Средний патрубок может быть использован или для горячего, или для холодного воздуха, что соответственно меняет длину сушильной или охладительной зоны.

Разделение отсоса горячего и холодного воздуха предотвращает возможность образования конденсационных паров и завихрений, повышающих скорость воздушного потока, в результате чего возможен унос кристаллов сахара.

В целях предотвращения запыления помещения нагнетание и отсос воздуха рассчитаны таким образом, что внутри барабана поддерживается разряжение.

Рис. 3. Барабанная сушильно-охладительная установка СБУ-1


2. Технические описания и расчёты.

2.1. Описание принципа работы технологической схемы.

Исходный продукт – яблоки, с содержанием влаги ωн=85% и температурой θ1=17,5°С, из бункера Б1 подается в шкафную сушилку ШС. Снизу в сушильную камеру вентилятором В нагнетается воздух, нагреваемый в калориферной батарее КБ. Воздух на входе в калориферную батарею имеет температуру t0=21,6°С и относительную влажность φ0=62 %. В калориферной батарее воздух нагревается до температуры t1=130°С. Подогрев воздуха в калориферной батарее осуществляется за счёт конденсации греющего пара, имеющего температуру 160°С при давлении 0,618 МПа. Из верхней части сушильной камеры отработанный воздух с температурой t2=49°С поступает на очистку от мелких частиц в циклон СК-ЦН-34 и далее выбрасывается в атмосферу. Сухой продукт с содержанием сухих веществ 92% и имеющий температуру θ2=40°С из нижней части сушильной камеры поступает в бункер высушенного материала Б2 и далее на ленточный транспортёр, а из циклона СК-ЦН-34 – прямо на ленточный транспортёр.

2.2 Материальный расчёт установки.

Из уравнения материального баланса сушильной установки определим расход влаги W, удаляемый из высушиваемого материала:

Gк =100 кг/ч =100/3600=0,028 кг/с,

 кг/с,


где    – производительность установки по сухому веществу, кг/с

ωн – начальная влажность продукта, %

ωк – конечная влажность продукта, %.

ωн=85%,

ωк=12%.

2.3 Тепловой расчёт установки.

Определение основных параметров влажного воздуха.

К основным параметрам влажного воздуха относятся:

1.  температура t,°С

2.  относительная влажность воздуха φ,%

3.  удельное влагосодержание х, кг/кг

4.  энтальпия I, кДж/кг

Температуру и относительную влажность воздуха на входе в калорифер определяем по климатическим таблицам, для г. Минск летние условия /10/:

1.  температура t0=17,5°С,

2.  относительная влажность φ0=78%.

Удельное влагосодержание воздуха рассчитаем по формуле:

,

где    0,622 – отношение мольных масс водяного пара и воздуха,

Рн – давление насыщенного водяного пара при данной температуре воздуха, Па

Рн=1999,5 Па при t0=17,5°С.

В – барометрическое давление воздуха, Па. (Для Европейской части СНГ принимается 745 мм рт. ст. = 99100 Па.)

Удельное влагосодержание воздуха на входе в калорифер:

, кг/кг

Т.к. подогрев воздуха в калорифере происходит при неизменном влагосодержании воздуха, то удельное влагосодержание воздуха на входе в калорифер тоже, что и на входе в сушилку:

, кг/кг

Энтальпия влажного воздуха представляет сумму энтальпий сухого воздуха и водяного пара, приходящегося на 1 кг сухого воздуха:

,

где    Сс.в. – средняя удельная теплоёмкость сухого воздуха, (при t<200°С Сс.в.=1,004 кДж/(кг.К)),

t – температура влажного воздуха, °С,

х – удельное влагосодержание воздуха, кг/кг с.в.,

in – удельная энтальпия перегретого пара, кДж/кг,

,

где    r0 – удельная теплота парообразования воды, (при 0°С r0=2500 кДж/кг),

cn – средняя удельная теплоёмкость водяного пара, cn=1,842 кДж/(кг.К).

Рисунок 4 – Процесс сушки в I–x диаграмме

Энтальпия воздуха на входе в калорифер:

, кДж/кг

Энтальпия воздуха на выходе из калорифера (на входе в сушилку):

, кДж/кг

Удельное влагосодержание воздуха на выходе из сушилки:

Энтальпия воздуха на выходе из сушилки:

, кДж/кг

Для наглядности строим процесс сушки в I-x диаграмме, которая приведена на рисунке 4. По состоянию наружного воздуха t0 и φ0 на диаграмме находим точку А, по следующим параметрам t0= 17,5°С и j0= 78 %, и соответствующие ей теплосодержание I0 и влагосодержание х0. Нагревание воздуха в калорифере происходит при постоянном влагосодержании (х0=0,0099 кг/кг) до температуры t1 (точка В, со следующей температурой t1=81°С и влагосодержанием j1≈0,6%, энтальпия I1=107,55 кДж/кг). По температуре воздуха на выходе из сушилки t2 находим точку С окончания теоретического сушильного процесса и значение х2=0,027 кг/кг с температурой t1=37°С и влагосодержанием j2≈54% (соответственно определенные по диаграмме).

При дальнейших расчетах используем значения и параметры, найденные расчетным путем.

Тепловой расчёт сушилки.

Запишем уравнение внутреннего теплового баланса сушилки:

,

где     – разность между удельными приходом и расходом тепла непосредственно в сушильной камере, кДж/кг влаги;

– теплоемкость влаги во влажном материале при температуре θ1=17,5°С, кДж/(кг.К);

=4,19 кДж/(кг.К);

qдоп. – удельный дополнительный подвод тепла в сушилку, кДж/кг влаги; при работе сушилки по нормальному сушильному варианту qдоп.=0;

. – удельный расход тепла с транспортными  средствами, кДж/кг влаги; в рассматриваемом случае qт.=0;

qм. – удельный расход тепла в сушилке с высушиваемым материалом:


, кДж/кг влаги

см - теплоемкость высушенного материала:

, кДж/(кг.К),

сс - теплоемкость абсолютно сухого материала, кДж/(кг.К);

сс=0,86·4,190=3,603 кДж/(кг.К);

qп. - удельные потери тепла в окружающую среду:

, кДж/кг влаги,

l – удельный расход абсолютно сухого воздуха:

, кг возд./кг влаги,

I2 – энтальпия воздуха на выходе из сушилки, кДж/кг,

х2 – удельное влагосодержание воздуха на выходе из сушилки, кг/кг с.в.. Значение х2 находим по I-х диаграмме влажного воздуха, построив теоретический процесс сушки, и по нему рассчитываем значение I2.

Теплоемкость высушенного материала:

, кДж/кг влаги

Удельный расход тепла в сушилке с высушиваемым материалом:


, кДж/кг влаги

Удельные потери тепла в окружающую среду:

, кДж/кг влаги

Разность между удельными приходом и расходом тепла непосредственно в сушильной камере:

, кДж/кг влаги

Расход воздуха на сушку:

, кг/с

Средняя температура воздуха в сушилке:

Среднее влагосодержание воздуха в сушилке:

, кг/кг

Средняя плотность воздуха:

, кг/м3

Средняя плотность водяных паров:

, кг/м3

Средняя объемная производительность по воздуху:

, м3/с

Удельный объем влажного воздуха:

, м3/кг

, м3/кг

Объемный расход влажного воздуха:

 м3/с

 м3/с

Расход тепла на сушку:

, кВт

2.4 Конструктивный расчёт шкафной сушилки.

Определим габаритные размеры. Загрузка на один противень

,

где    l – длинна противня, принимаем l=2,05 м;

b – ширина противня, принимаем b=1,2 м;

nшт – количество штучных изделий на 1м2 поверхности противня;

gшт – масса штучного изделия, кг.

Принимаем размеры ломтиков яблок 5см×5см×1см. Следователь масса штучного изделия равна 0,025 кг. Количество ломтей яблок в вагонетке 400 шт.

Загрузка на вагонетку по влажному материалу:

, кг

Вместимость сушильной камеры:

 кг

 кг.

Определим количество вагонеток по влажному материалу:

Принимаем 5 вагонеток.

Ширина камеры:

Длинна камеры: , м;

Высота камеры:


2.6. Расчёт и подбор комплектующего оборудования.

2.6.1. Расчёт и подбор калориферов.

Принимаем к установке калорифер КФБО-5, для которого:

1.  площадь поверхности нагрева Fк=26.88 м2 ,

2.  площадь живого сечения по воздуху fк=0,182 м2.

Площадь поверхности теплопередачи:

, м2

где    Q – расчётное количество теплоты, необходимое для подогрева воздуха, кВт

Q =516,03 кВт

k – коэффициент теплопередачи от греющего теплоносителя к воздуху, Вт/(м2·К)

, Вт/(м2·К)

b, n – опытные коэффициенты,

b=16.47

n=0,456

ρν – массовая скорость воздуха в живом сечении калорифера, кг/(м2·К)

ρν=10 кг/(м2·К)

, Вт/(м2·К)

Δtср. – средняя разность температур греющего теплоносителя и воздуха, °С

Страницы: 1, 2


рефераты бесплатно
НОВОСТИ рефераты бесплатно
рефераты бесплатно
ВХОД рефераты бесплатно
Логин:
Пароль:
регистрация
забыли пароль?

рефераты бесплатно    
рефераты бесплатно
ТЕГИ рефераты бесплатно

Рефераты бесплатно, реферат бесплатно, сочинения, курсовые работы, реферат, доклады, рефераты, рефераты скачать, рефераты на тему, курсовые, дипломы, научные работы и многое другое.


Copyright © 2012 г.
При использовании материалов - ссылка на сайт обязательна.